Циклон БЦ-254-2-6x(4+3) в Чебоксарах

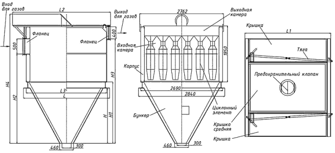
Батарейный циклон БЦ-254-2-6x(4+3) — двухсекционный пылеулавливающий прибор для очистки воздуха от неволокнистых и неслипающихся частиц цементной, угольной, известковой и другой пыли. Кроме того, батарейные циклоны удаляют дымовые газы, которые проникают в помещение отопительных и производственных котельных. Устанавливаются к твердотопливным котлам КВм и КВ-ТС с механическими топками ТЛЗМ, ТЧЗМ, ТЛПХ. Вид циклона подбирается в соответствии с производительностью и мощностью котельного агрегата.

Цена:
Цена не указана
Количество:
Отправляя свои личные данные через формы на сайте, Вы даёте своё согласие на обработку персональных данных согласно Федеральному закону №152-ФЗ «О персональных данных» от 27.07.2006 г. в редакции от 01.07.2017.

Устройство и принцип работы циклона БЦ-254-2-6x(4+3)

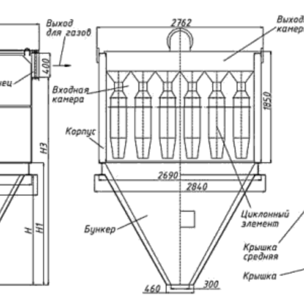
Батарейные циклоны БЦ-254-2-6x(4+3) — это ряд параллельно расположенных циклонных элементов в общем стальном корпусе с общим двухкамерным бункером. Количество циклонных элементов, расположенных в корпусе, определяется производительностью. Обычно это 20-56 элементов диаметром 254 мм. Каждый из них имеет две параллельно функционирующие секции с предохранительными клапанами, которые защищают устройство от повреждений на случай взрыва. Если нагрузка на циклон недостаточно высокая, при помощи шибера можно отключить одну из камер и циклон будет работать в половину своих возможностей.

Сначала потоки загрязненного воздуха проникают через входное отверстие и попадают в чугунные циклонные элементы, где вращающимся потоком продвигаются вперед. Твердые частицы золы и пыли прилипают к стенкам корпуса, и совместно с потоками газа опускаются в бункер. Очищенный воздух поднимается наверх по центральной части корпуса и выводится через выхлопную трубу. Осевшие частицы удаляются из бункера вручную. При большой производительности выгрузка остатков должно производиться своевременно и регулярно.

Условное обозначение

Циклон БЦ-254-2-6x(4+3), где:

  • Б — батарейный;
  • Ц — циклон;
  • 254 — диаметр циклонного элемента, мм;
  • 2 — количество секций;
  • 6x(4+3) — количество элементов.

Монтаж циклона БЦ-254-2-6x(4+3)

Эффективность работы батарейного циклона БЦ-254-2-6x(4+3) зависит от соблюдения СНиП 11-35-76 «Котельные установки» и «Правил устройства и безопасной эксплуатации паровых и водогрейных котлов». Чтобы не допустить перепад температур и образования конденсатов, прибор устанавливают внутри помещения. Если котельная располагается за пределами помещения или не имеет стабильность температуры, то корпус циклона обшивается теплоизоляционными материалами.

Установка и пуско-наладочные работы выполняют специалисты, которые имеют разрешение на проведение данных работ. При установке циклона на удаленном расстоянии от котла, недопустимы перегибы, сужения и расширения газопровода.

Характеристики
Тип: ЦБ
Серия: БЦ-254
Диаметр циклонного элемента: 254 мм
Количество элементов: 42 шт
Количество секций: 2 шт
Производительность по воздуху: 31580-36540 м³/ч
Степень очистки газов: 80-95 %
Максимальная температура очищаемого газа: 400 °С
Габаритные размеры: 2890x2170x4410 мм
Масса: 5500 кг
Схемы

Города поставок

Москва
Пн-Пт 09:00 - 18:00
Сб 09:00 - 17:00
Карачаево-Черкесская Республика
Пн-Пт 09:00 - 18:00
Сб 09:00 - 17:00
Екатеринбург
Пн-Пт 09:00 - 18:00
Сб 09:00 - 17:00

Совершите покупку за 4 шага

Шаг 1
Выберите товары из каталога
Шаг 2
Поместите нужные вам товары в корзины
Шаг 3
Укажите свои контактные данные в форме обратной связи
Шаг 5
Ожидайте звонка от менеджера для оформления покупки

Похожие товары

Циклоны
Циклон ЦН-24-800-1УП — это устройство, которое предназначено для очистки газового потока от частиц пыли, размер которых более 20 мкм. Данное очистное устройство не предназначено для высокой степени очистки газов от загрязняющих веществ, применяется как первая ступень очистки газа от пыли для дальнейшей дезактивации или как очистное сооружения на предприятиях, где есть обширная санитарно-защитная зона и возможности выбрасывать загрязнённые газовые потоки в атмосферу. Чаще всего применяется данная модель циклона на предприятиях черной и цветной металлургии, при изготовлении строительных материалов, в машиностроительной промышленности, при транспортировке вредных мелкозернистых вредных веществ, а также в нефтяной и химической индустрии.
Вы смотрели эти товары
Комплексон-6 (pH)
Система водоподготовки «Комплексон-6» (рН-2,5) предназначена для контроля над состоянием щелочности воды, а также растворенных в воде веществ, которые могут вызывать коррозию и закупорку труб в водопроводах. Используется наиболее часто в котельных, для контроля над состоянием воды и ее дальнейшую подачу в общую систему отопления. Также используется в химической, нефтяной, металлургической промышленности для контроля качества воды.
Комплексон-6 (pH)
Система водоподготовки «Комплексон-6» (рН-10) предназначена для контроля над состоянием щелочности воды, а также растворенных в воде веществ, которые могут вызывать коррозию и закупорку труб в водопроводах. Используется наиболее часто в котельных, для контроля над состоянием воды и ее дальнейшую подачу в общую систему отопления. Также используется в химической, нефтяной, металлургической промышленности для контроля качества воды.
Комплексон-6 (pH)
Система водоподготовки «Комплексон-6» (рН-2) предназначена для контроля над состоянием щелочности воды, а также растворенных в воде веществ, которые могут вызывать коррозию и закупорку труб в водопроводах. Используется наиболее часто в котельных, для контроля над состоянием воды и ее дальнейшую подачу в общую систему отопления. Также используется в химической, нефтяной, металлургической промышленности для контроля качества воды.